HƯỚNG DẪN SỬ DỤNG MÁY ĐIỆN TIM ECG-1250K
I. Mô tả mặt máy điện tim
Mặt Trước của máy
- Phím mở hộp để giấy
- Hộp để giấy
- Màn hình tinh thể lỏng LCD
- Mặt phím điều khiển
- Nắp mở hộp chứa pin
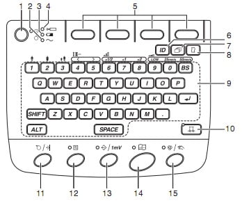
Mặt Phím Điều Khiển Của Máy
- Phím nguồn / đèn : bật hoặc tắt mỏy.
- Đèn nguồn AC : Sáng khi máy hoạt động bằng nguồn AC 220V
- Đèn hoạt động pin: Trong khi máy hoạt động bằng pin, đèn này chỉ thị cho năng lượng pin với màu và khoảng vạch sáng. Khi đèn sáng màu vàng và nhấp nháy , nó báo rằng pin sắp hết và cần được nạp điện.
- Đèn nạp pin : Chỉ thị trạng thái nạp của ắc quy
- Đèn sáng : Pin đang nạp
- Đèn nhấp nháy : Pin nạp gần đầy
- Đèn tắt : Pin nạp đầy đủ
- Phím chức năng F1, F2, F3 : Những phím chức năng tương ứng với chức năng hiển thị phía dưới màn hình
- Phím ID : nhập thông tin bệnh nhân
- Phím MODE : Nhấn phím này mở màn hình menu Main
- Phím REVIEW :
- Bàn phím : nhập các ký tự và các số
- Phím / đèn RHYTHM : Thực hiện ghi nhịp khi khaỷo saựt soựng ECG. Đèn này sáng khi sóng được thu nhận ( máy tự ghi sau 60s)
- Phím FEED/ MARK :
- Kéo giấy : Nhấn phím này để kéo giấy ra một đoạn
- Đánh dấu : Trong chế độ ghi bằng tay, nhấn phím này để chú thích sóng ECG. Một dấu sự kiện sẽ được ghi .
- Phím / đèn FILTER : Baọt hoặc tắt cho lọc nhiễu điện cơ (EMG ) , khi bật đèn sáng.
- Phím / đèn COPY/CAL :
- Chế độ ghi tự động : Có thể sao chép kết quả điện tim với số lượng bất kỳ.
- Chế độ ghi bằng tay : Ghi dạng sóng chuẩn
- Phím /đèn START -STOP : Bắt đầu hoặc dừng ghi. Trong khi ghi đèn này sáng.
- Phím / đèn AUTO- MANUAL : lựa chọn ghi tự động hoặc ghi bằng tay
- Đèn sáng : Ghi tự động
- Đèn tắt : Ghi bằng tay
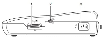
Mặt Hông Bên Phải
- Đầu nối cáp bệnh nhân
- Đầu vào cho tín hiệu phụ từ bên ngoài / đầu ra cho CRO
- ổ cắm nguồn
Mặt Sau
- Đầu nối đất
- Khe cắm thẻ SD
- Khe cắm USB loại A
- Khe cắm USB loại b
II. NHỮNG CHÚ Ý KHI SỬ DỤNG:
- Khi cắp dây nguồn, Khi chưa bật máy, ắc quy sẽ tự nạp điện
- Khi nạp đầy, ắc quy sử được 2 giờ ghi liên tục.
- Thời gian nạp cho ắc quy đầy đủ khoảng 6 giờ.
- Không tháo, lắp ắc quy trong khi bật máy.
- Kiểm tra giấy in
- Điều chỉnh độ nét màn hình: Khi bật máy, độ nét màn hình có thể thay đổi bằng cách điều chỉnh các phím chức năng F2 và F3
III. TRÌNH TỰ GHI SÓNG ĐIỆN TIM:
- Tổng Quát
Có thề ghi tự động hoặc ghi bằng tay sóng điện tim. Khi bật công tắc nguồn, chế độ ghi tự động được lựa chọn.
Trong chế độ ghi tự động, việc phân tích kết quả được thực hiện một cách tự động. sau khi sóng điện tim được ghi, kết quả phân tích cũng tự động được in.
Trong ghi tự động nếu sự loạn nhịp được phát hiện, 60 giây của đạo trỡnh II được ghi tự động.
Trong chế độ ghi bằng tay, có thể thay đổi bằng tay những cài đặt cho ghi ECG, cũng có thể đánh dấu trên sóng ghi khi nhấn phớm FEED/MARK.
2. Trình tự cơ bản cho ghi sóng ECG trạng thái nghỉ ( resting ECG)
Bật nguồn
Chọn chế độ ghi sóng điện tim – phím AUTO/MANUAL
Đèn sáng : ghi tự động
Đèn tắt : ghi bằng tay
Ghi tự động :
- Nhập thông tin bệnh nhân- nhấn phím ID
- Chọn chế độ ghi : ghi thời gian thực hay ghi xem lại
- Nhấn phím START / STOP
- Muốn in thêm bản sao kết quả thì nhấn phím COPY / CAL
HƯỚNG DẪN SỬ DỤNG MÁY ĐIỆN TIM ECG – 1250K
- Nhấn phím POWER để mở máy --> xuất hiện màn hình đo điện tim ( Resting ECG).
- Kiểm tra đèn AUTO / MANUAL , nhấn phím AUTO / MANUAL để lựa chọn ghi tự động hay ghi bằng tay. Ghi tự động đèn sáng, ghi bằng tay đèn tắt.
- Nhấn phím ID để nhập thông tin bệnh nhân:
- Gắn các điện cực lên bệnh nhân. Nếu quá trỡnh gắn điện cực bị lỗi hay điện cực bị rơi hoặc tiếp xúc không tốt sẽ bị báo lỗi tương ứng trên màn hình ở góc trên bên trái
- Nếu máy báo lỗi ở điện cực nào sữa lại điện cực đó cho tiếp xúc tốt. Khi nào trên màn hỡnh khụng cũng xuất hiện lỗi các điện cực đó tiếp xúc tốt.
- Nhấn phím FILTER để bật / tắt lọc nhiễu điện cơ khi cần thiết.
- Nhấn phớm START / STOP sau vài giây máy bắt đầu ghi sóng điện tim.
- Nếu ghi ở chế độ tự động, máy sẽ tự động chuyển đạo trình và dừng ghi sau khi ghi kết quả xong. Nếu ghi ở chế độ bằng tay, phải chuyển đạo trình bằng cách nhấn F1, sau khi ghi xong nhấn START / STOP để kết thúc.
- Muốn ghi đạo trình nhịp DII kéo dài trong một phím nhấn phím RHYTHM chờ 1 phút máy sẽ ghi ra đạo trình DII kéo dài và tự động dừng.
- Tháo các điện cực cho bệnh nhân, lập lại các bước trên để đo bệnh nhân kế tiếp.














admin –
Hướng Dẫn Sử Dụng Điện Tim ECG 1250K